| Sign In | Join Free | My insurersguide.com |
|
Place of Origin : China
Brand Name : Zhongyuan
Certification : CCS, NK, BV, ABS, DNV-GL, LR, KR, IRS, RS, RINA, Makers Test Certificate, Etc.
Model Number : Standard and Customized
MOQ : 1
Price : As per quotation
Packaging Details : Pallet or Customized
Delivery Time : As per offer
Payment Terms : TT, L/C, Etc.
Supply Ability : Satisfy clients needs
Standard : JIS F 2804-1976
Nominal Diameters : 150 to 350mm
Technical Standard : GB 10106-88 & JIS F2804-76
Material : Mild Steel; Stainless Steel
Weight : 33 to 186kg
Surface treatment : sandblasting to S2.5 + one layer of epoxy shop primer, Galvanized, Polished, customized surface treatment available.
Classification Certificates : CCS, NK, BV, ABS, DNV-GL, LR, KR, IRS, RS, Etc
JIS F 2804-1976 Single Bitt Pipe Fabricated Ships Cross Bitt Ship Mooring Equipment
Description:
JIS F 2804-1976 ship's cross bitts is just one of the several standard of ship's cross bitts. Its material is mainly casting steel and casting iron. Besides we can provide you bollard according to your specific requirements. If you are interested in any of our products, please feel free to contact us.
Main Technical Specification:
1. Standard: JIS F 2804-1976;
2. Nominal Diameters: 150 to 350mm;
3. Technical Standard: GB 10106-88 & JIS F2804-76
4. Material: Mild Steel; Stainless Steel ;
5. Weight: 33 to 186kg;
6. Surface treatment: sandblasting to S2.5 + one layer of epoxy shop primer, Mirror or Satin Polished, Polished, Galvanized, customized surface treatment available.
7. Classification Certificates:CCS, NK, BV, ABS, DNV-GL, LR, KR, IRS, RS, Etc.
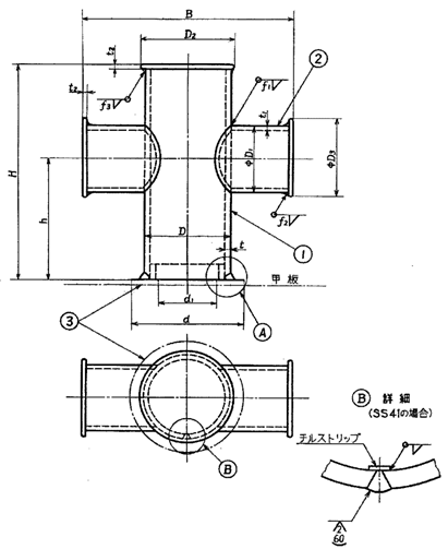
Main Technical Parameter:
| Nominal Dia.(mm) | Dimension(mm) | Wire Rope Dia.(mm) | |||||||
| H | h | B | D | D1 | D2 | D3 | Weight(kg) | ||
| 150 | 480 | 280 | 460 | 165 | 114 | 206 | 158 | 33 | 16 |
| 200 | 560 | 320 | 520 | 216 | 165 | 256 | 206 | 60 | 22 |
| 250 | 640 | 360 | 610 | 267 | 216 | 308 | 256 | 102 | 28 |
| 300 | 680 | 380 | 660 | 318 | 267 | 360 | 308 | 154 | 34 |
| 350 | 720 | 420 | 720 | 355 | 267 | 400 | 312 | 186 | 38 |

Drawing of JIS F 2804-1976 Single Bitt Pipe Fabricated Ships Cross Bitt Ship Mooring Equipment




|
|
JIS F 2804-1976 Single Bitt Pipe Fabricated Ships Cross Bitt Ship Mooring Equipment Images |